
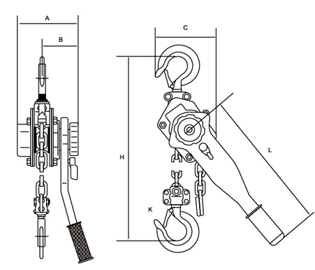
VA型手扳葫芦

产品介绍
VA型手扳葫芦

| 型号Model | 0.75Ton | 1.5Ton | 3Ton | 6Ton | |
| 起重量 吨 t | 0.75 | 1.5 | 3 | 6 | |
| 起重高度 米m | 1.5 | 1.5 | 1.5 | 1.5 | |
| 试验载荷 吨 t | 9.2 | 18.4 | 36.8 | 73.5 | |
| 手扳力 N | 148 | 216 | 336 | 345 | |
| 起重链直径 毫米 mm | 6.3 | 7.1 | 9 | 9 | |
| 净重 公斤 kg | 6.6 | 11.65 | 21.1 | 23.7 | |
| 主要尺寸 毫米 mm |
A | 155 | 170 | 198 | 198 |
| B | 128 | 147 | 182 | 230 | |
| C | 310 | 350 | 470 | 590 | |
| D | 240 | 365 | 365 | 365 | |
| G | 28 | 36 | 47 | 49 | |
* 产品严格按国家3包执行,质量由中国人寿财产保险股份有限公司承保,请放心使用。




