博雅扑克官方首页-首页即战场,扑克即刻开始

资讯频道
下载手机APP
当前位置: 首页 ? 资讯频道 ? 行业资讯 ? 正文

大方重机取得起重机用折叠式安全护栏专利,具备折叠的效果

??来源:金融界??人气:4378
|
|
|
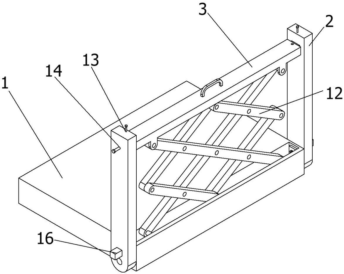
据金融界2025年5月23日消息,国家知识产权局信息显示,河南省大方重型机器有限公司取得一项名为“一种起重机用折叠式安全护栏”的专利,授权公告号CN222892924U,申请日期为2024年07月。
微信图片_2025-05-24_105909_388
专利摘要显示,本实用新型公开了一种起重机用折叠式安全护栏,涉及起重机设备相关技术领域,具体为一种起重机用折叠式安全护栏,包括底座、立柱和横杆,底座的两侧开设有凹槽,底座的一侧通过转轴活动连接有立柱,立柱的一侧开设有第一滑槽,第一滑槽的内部滑动连接有滑块,横杆的上表面固定连接有把手,横杆的上表面开设有两个通孔,横杆的两侧开设有第二滑槽,第二滑槽的内部滑动连接有滑块,滑块的上表面开设有第三滑槽,第三滑槽活动连接有弹顶机构。通过升降机构的设置,使该起重机用折叠式安全护栏具备了折叠的效果,通过立柱和横杆的配合设置,避免了在狭小空间作业时栏杆因为碰撞而损坏,减少了栏杆需要安拆的作业,操作简单安全。
文中内容、图片均来源于网络,如有版权问题请联系本站删除!
?

移动版:大方重机取得起重机用折叠式安全护栏专利,具备折叠的效果

相关信息

  • 2025年4月我国履带式起重机出口10885.39万美元
  •   据机经网整理海关数据显示,2025年4月,我国履带式起重机出口金额为10885.39万美元,同比增长37.83%;出口数量为439台,同比增长37.19%;出口均价为24.80万美元/台,同比增长0.49%。2025...[详情]
  • 2025年4月我国塔式起重机出口6472.09万美元 同
  •   据机经网整理海关数据显示,2025年4月,我国塔式起重机出口金额为6472.09万美元,同比增长23.11%;出口数量为619台,同比增长36.34%;出口均价为10.46万美元/台,同比下降9.67%。2025年4...[详情]
  • 特朗普拟对中国起重机加税100%,"美国这行80年
  • 中美关税战打打谈谈,特朗普又想出新招,拟在新领域对华加税100%,结果却遭自己人打脸。据《日经亚洲》5月20日报道,在当地时间5月19日由美国贸易代表办公室举行的一场公开听证会上,讨论事...[详情]